Tilpas udvalg
Kategorier
- Bach Kabinescooter
-
Reservedele
- Ape 50
-
Ape 50 Euro 4
-
Splittegninger Ape50 E4
- Baghjul
- Baghjulsophæng + Støddæmper
- Baglygte
- Bakgear- og Speedometerkabel
- Benzintank
- Bremser
- Bremsesystem Ape 50 E4
- Elektriske kontakter
- Emblemer
- Forgaffel + Støddæmper
- Forhjul
- Forrude og Bagrude Ape 50 E4
- Forlygter
- Gulvplade og luftindtag Ape 50 E4
- Instrumentbræt
- Kofanger
- Ledningsnet
- Låsesæt
- Olietank
- Parkeringsbremse
- Relæer + Batteri + Horn
- Sidespejle
- Sikkerhedssele Ape 50 E4
- Skærme Ape 50
- Spændingsregulator + Tændspole
- Styr + Håndtag + Greb
- Styrdæksel
- Sæde & Ryglæn
- Vinduesvisker og sprinkler
- Værktøjssæt
- Åben Lad (TOP) Ape 50 E4
- Åben Lad Ape 50 E4
- Bremser
- Cylinder & Stempel
- Differentiale
- Dæk & Fælge
- Forrude og Bagrude
- Gulvplade og luftindtag
- Instrumentbræt
- Kabler & Tilbehør
- Kobling Ape 50 E4
- Kofanger
- Lygter
- Låsesæt
- Motordele
- Motorophæng
- Olietank
- Plastikdele
- Ruder & Lister
- Sidedør
- Sikkerhedssele
- Skærme
- Støddæmper
- Sæde & Ryglæn
- El & Tænding
- Udstødning og pakning
- Åben Lad (TOP)
- Åben Lad
-
Splittegninger Ape50 E4
- Ape Calessino 200
- Brugte reservedele til APE
- BACH Cargo
- BACH delux 26
- BACH 27
- BACH Green Electric
- BAW Pony EV
- E-Cabin
- ECV Cargo
- Eidola City Spirit
- EPV Sport
- Hekter Reservedele
- JAC Motors
- Jinma
- Maxus
- RUN Horse
- TOL T414
- Turny evo - elektrisk drejesæde
- Tilbud
- Hardware
- Info & Guide
- Gavekort
- Gebyr
-
Black Week
Tilpas udvalg

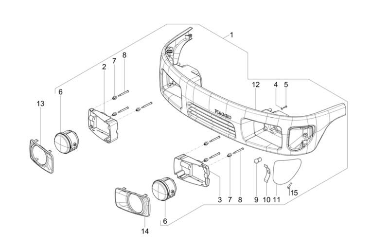
01. Forlygtekit komplet Ape50 E4 (1E003234) |
10. Blinklys parabol SX Venstre |
02. Lygteholder Højre E4 |
10. Blinklys parabol DX Højre |
03. Lygteholder Venstre E4 |
11. Blinklygteglas SX Venstre |
04. Skive D9x3,8x0,5 |
11. Blinklygteglas DX Højre |
05. Skrue 3,5x19 |
12. Frontpanel til forlygter |
06. Forlygte E4 (1D002696) |
13. Forlygteramme DX Højre |
07. Justeringsblok ved forlygte |
14. Forlygteramme SX Venstre |
08: Justeringsskrue ved forlygte |
15. Skrue til blinklygte glas |
09. Pære 12V 10W |
Her finder du alle originale og uoriginale reservedele til forlygte og blinklygte på en Piaggio Ape 50 2T E4 årgang 2019 og frem.
Stel nummer: ZAPC81000. Motor kode: C804M
Indkøbskurv
Din indkøbskurv er tom!